安全动态

深度研究 | 警惕低空经济产业“底虚式”发展

来源:聚铭网络    发布时间:2025-07-11    浏览次数:
 

低空经济产业在政策驱动下正迎来前所未有的发展热潮。随着国务院《关于促进低空经济发展的指导意见》的落地,无人机物流配送、电动垂直起降飞行器(eVTOL)试飞、空中广告飞艇等应用场景正快速铺展,勾勒出一幅万亿级产业蓝图。数据显示,2024年我国低空经济核心产业规模已突破6000亿元,年增长率达42%,相关企业注册数量同比激增3倍,资本涌入速度创下新兴产业发展纪录。

然而,在这片被热情点燃的天空下,我们必须冷静审视潜藏的风险与挑战,当前低空经济产业的发展略显"底气不足":

 1、技术短板仍在压舱。动力电池能量密度不足、高端飞控芯片高度依赖进口,一旦供应链波动,整条产业链便可能“失速熄火”。

2、空域管理亟待破局。城市低空航道尚未划定,全国统一数字空管平台仍停留在规划阶段,“黑飞”“乱飞”事件频发,公共安全隐患日益凸显。

3、网络与信息安全风险更值得警醒:海外已出现无人机“劫机”案例,GNSS 欺骗、链路劫持、恶意代码植入让低空平台暴露在比传统网络更险峻的攻击面前,一旦飞控被篡改,低空装备将瞬间演变成“空中网络武器”。

安全牛5月21日发布的《低空智联网环境下的安全管控技术与应用研究(2025版)》报告指出:当前低空经济正成为全球经济增长的重要引擎,其中低空智联网是支撑低空经济发展的数字化基础设施,而低空安全管控体系是保障低空经济可持续发展的底线工程。低空智联网和低空安全管控在低空经济产业中存在紧密的依存关系——低空智联网是低空经济的技术抓手,低空安全管控则是低空经济的安全警戒线。

低空经济不是昙花一现,而是一场面向未来的深空竞赛。唯有筑牢技术根基、织密安全防线、校准商业航向,才能让这只"潜力股"摆脱"底虚"阴霾,在万米蓝天下真正翱翔。

低空产业发展与低空基建、低空安全之间的矛盾

从1940年美国提出“通用航空”概念起,到我国于2021年首次将“发展低空经济”纳入国家规划、2023年将低空经济列入战略性新兴产业、2024年首次写入政府工作报告,低空产业已经发展了半个多世纪的历程。因其战略意义和价值的重要性,世界各国在低空领域的布局和竞争日益激烈,已经成为驱动全球经济增长的重要动能,但同时也都面临安全、通信协议、技术路径、经济形态、法律法规、基础设施、社会接受度及服务模式等多重挑战。

作为我国新质生产力的硬核代表,近十几年来低空经济在新兴数字化技术和先进智能装备的加持下,不断实现突破性发展,应用领域广泛、业务形态丰富,更将在2030年释放出万亿级别的增量市场。2024年12月国务院正式挂牌成立低空经济发展司,标志着我国低空产业进入快速发展阶段。相较于其他国家主要聚焦低空交通应用和飞行器设施的经济形态,我国的低空经济呈现出区域和产业多元化发展的特点,涉及政治、军事、警用、海关、航空、民航、空域、市政、规划、交通、通信、网络、数智、金融、保险等诸多领域,是国家综合交通运输系统框架下可持续发展的低空交通综合经济形态。其应用范围广泛而丰富,包括无人机物流、城市空中交通管理、农业监测、环境检测、应急救援等,同时衍生出覆盖不同行业的软硬科技产业链,贯穿一、二、三产业,覆盖上下游全链,且在不同省市或地区结合当地经济特性和产业特色进行差异化布局。

面对低空领域业态交织与技术迭代的复杂态势,学术界与政府主管部门一致倡导,低空智联网是培育和支撑低空经济良性生态发展的战略底座,在现有多元化网络基础上加速融合低空智联网势在必行。

与此同时,低空安全问题日益凸显。如无人机黑飞扰航、恶意入侵、数据泄露、通信干扰等事件频发,对航空安全、公共安全和国家安全构成严峻挑战:

  • 在技术层面,飞行器故障率虽逐年下降,但动力系统失效、导航信号干扰等风险仍持续存在;
  • 在管理层面,我国低空空域日均飞行架次已突破12万(中国民航局2024年数据),传统人工调度模式难以应对如此复杂的运行需求;
  • 在数据安全领域,低空智联网节点数量呈指数级增长,单个城市级网络可能包含超过50万个物联网终端,使系统暴露在新型网络攻击威胁之下。 

低空智联网作为支撑低空经济发展的核心基础设施,其安全管控体系不仅关乎飞行器运行安全,更是国家空域治理现代化的重要体现。从当前多网异构的阶段性特征,到未来全域融合的演进目标,低空智联网环境下的安全管控技术体系需要全产业链主体的协同共建——在安全认知维度实现思维升维,在顶层设计层面强化系统规划,在工程实施阶段落实标准规范,在运营管理环节构建一体化动态防护,确保全量低空活动运行于安全可控的网络体系中。

安全牛认为,具备实时风险感知、自主决策优化能力的安全系统,将成为低空产业价值创造的核心载体——这不仅关乎飞行安全本身,更是打开低空经济万亿级市场的关键钥匙。

低空安全风险解析

要发展低空经济,必须解决低空智联网环境下的安全问题。

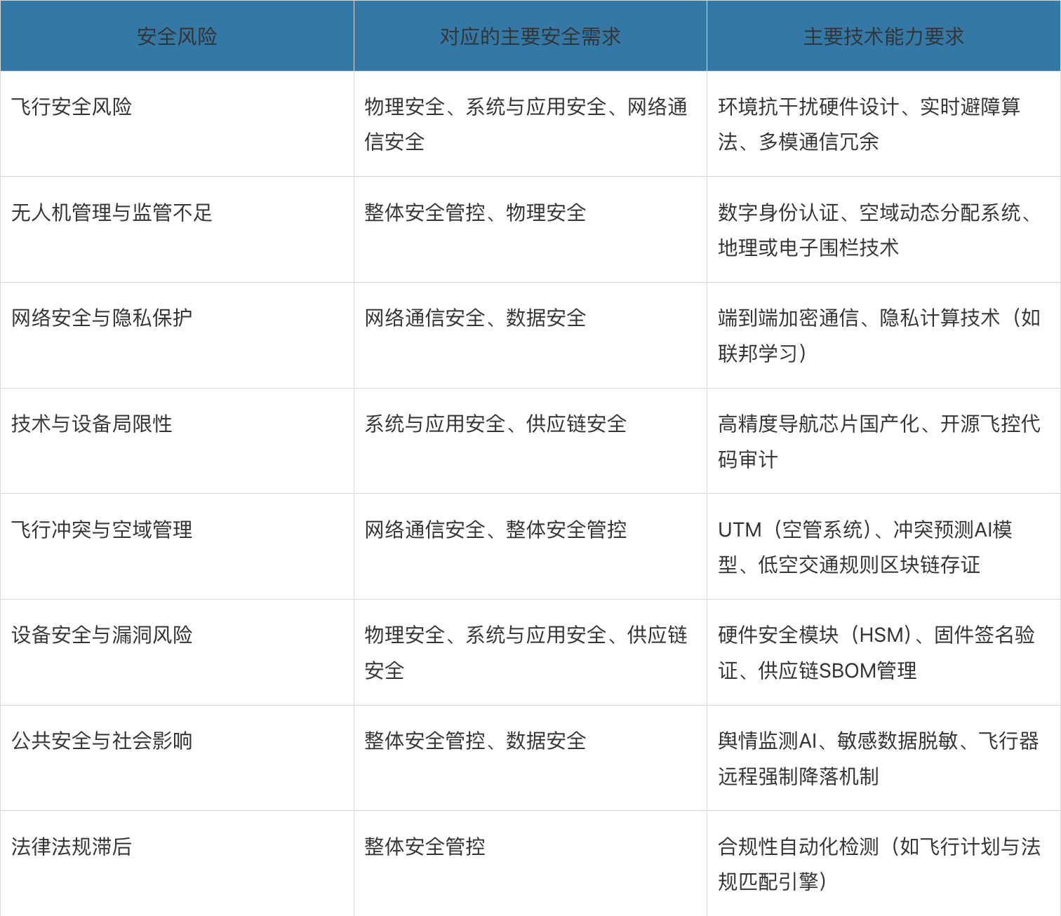
低空安全风险可以总体归纳为八大类,分别是:飞行安全风险、无人机管理与监管不足的风险、网络安全与隐私保护风险、飞行器设备技术局限性风险、飞行冲突与空域管理风险、设备安全与漏洞风险、公共安全与社会影响的风险、法律法规与政策体系不完善的风险。

1. 飞行安全风险

低空飞行活动的安全风险主要体现在飞行器在复杂环境中的碰撞风险、恶劣天气对飞行稳定性的影响以及地形障碍物带来的威胁。

2. 无人机管理与监管不足的风险

低空经济的快速发展带来了无人机数量的激增,但相关管理规范和技术标准尚未完善。例如,无人机的飞行“不报备”、信号卡顿等问题频发,导致飞行安全风险加剧。此外,无人机的自主组装、改装、禁空区域破解、“黑飞”等现象与法规缺位形成恶性循环。

3. 网络安全与隐私保护风险

低空飞行器依赖于无线通信、导航系统和数据交换平台,这些系统从军用级到消费级都容易受到黑客攻击、数据泄露或恶意利用的风险。例如,无人机可能携带大量敏感信息,如地理信息、视频记录等,一旦被滥用,可能造成严重的隐私泄露或非法活动。

4. 飞行器设备技术局限性风险

低空飞行器的导航精度、避障能力以及通信稳定性仍存在不足,特别是在恶劣天气条件下,飞行器的飞行控制能力可能受到影响,导致失控或坠毁事故的发生。此外,无人机的飞行轨迹规划、冲突检测和风险评估技术也需要进一步完善。

5. 飞行冲突与空域管理风险

低空飞行器的飞行规则和技术手段不足,以及空域资源管理效率低,导致无人机飞行安全难度增加,以及无人机与有人驾驶飞机之间存在飞行冲突,甚至碰撞的风险。

6. 设备安全与漏洞风险

低空飞行器和相关基础设施的设备存在漏洞,黑客攻击可能导致设备失控或数据泄露,从而引发严重后果。

7. 公共安全与社会影响的风险

低空飞行器的无序使用可能引发多种社会问题,包括干扰航班航线、偷拍、偷窃、撞击设备、人身安全威胁等。这些问题不仅影响公共安全,还可能引发舆论风波,对社会秩序造成冲击。

8. 法律法规与政策体系不完善的风险

低空经济领域的法律法规尚处于探索阶段,部分地区缺乏统一的空域划分和使用标准,导致资源分配不均和违规操作频发。此外,无人机飞行的监管机制尚未完全建立,难以有效应对快速发展的低空经济活动。

基于当前低空飞行领域面临的八大安全风险,安全牛分析认为低空安全风险的特征主要表现在“三高一弱”动态性矛盾、“三跨三缺”系统性断层以及“双滞后”制度性困境三个方面。

低空安全风险与需求的对照梳理

基于低空业务运行场景中识别的八大安全风险,从安全技术架构的维度,按照物理、系统与应用、网络与通信、数据与隐私、供应链、整体安全管控六类技术层面对八大低空安全风险进行技术需求的拆解,可以更准确对应低空安全体系的建设路径。同时需兼顾低空智联网异构融合和动态智能的演进,以便搭载更加先进、更加完善的网络安全技术能力,从而真正实现低空经济的可持续发展。因此总体而言,低空安全风险和低空安全需求也都将呈现出动态演进的特征。

“安全风险-安全需求-技术能力要求”三维矩阵


安全牛分析认为,低空安全需求的本质是开放性与可控性的博弈,需通过“三层(基础、运行、治理)”体系实现六类安全需求和八大安全风险的动态平衡。其中,风险是需求的驱动力(如“黑飞”催生数字身份认证需求),同时需求也是风险的解药(如联邦学习技术直接化解隐私泄露风险),最终还将动态演进。因为安全没有一劳永逸的防御,只有持续进化的体系。

未来,在动态演进的安全需求下,低空安全将走向“韧性安全”模式——既能吸收风险冲击(如单点故障不影响全局),又能快速恢复并进化(如攻击数据自动训练新的防御模型)。这一路径的实现,依赖对风险与需求关联性的深刻认知及相应的安全体系化设计。

消息来源:51CTO https://www.51cto.com/article/818325.html


 
 

上一篇:一图读懂《关于组织开展2025年度国家绿色数据中心推荐工作的通知》

下一篇:2025年7月11日聚铭安全速递