公司新闻

铭说|提高信息系统安全运营效率的解决方案

来源:聚铭网络    发布时间:2023-08-08    浏览次数:
 

近年来,随着我国互联网技术的快速发展以及相关基础设施建设的日益完善,信息化水平得到了大幅提高。与此同时,网络安全问题也逐渐凸显,黑客攻击、病毒侵袭、个人信息泄露等安全事件时有发生,使公民个人权利、社会稳定和国家安全面临巨大挑战。

为此,以国家政策为导向,各政企单位在内网信息系统中部署了众多网络安全设备,如防火墙、堡垒机、入侵防御系统、日志审计系统等,用以抵御网络威胁。但随着各种安全设备的日益繁杂,用户在利用这些设备进行日常运维使用的过程中常常伴随着诸多问题,例如:

  • 缺乏专业的网络安全运维人员,面对安全威胁时难以及时采取有效的措施;

  • 信息系统内部安全设备种类复杂,异构设备之间难以协同工作,无法构筑纵深防御体系;

  • 传统的人工运维方式需要对各类设备进行巡检、配置,流程琐碎且工作效率难以提升,导致运维工作压力繁重;

  • 安全设备存在误报问题,为运维人员带来额外的工作负担,影响工作效率;

面对以上问题,聚铭下一代智慧安全运营中心正式上线资产风险生命周期管理自动编排处置功能,帮助用户达到人机协同,轻松运维的效果。

资产风险生命周期管理功能主要用以解决用户在无资产视角下的风险聚合,对资产整体风险感知和整体风险数据统计呈现的需求,以及在流程层面多人难以协同进行安全运维的问题。


资产风险生命周期管理

黑白名单机制可以对暂时不需要着重关注的资产进行忽略处理,后续也可以按照实际运维需求取消忽略,再次添加关注。

针对每个设备,资产风险生命周期管理功能可以利用风险数据从多个维度分析内网信息系统存在的隐患,并第一时间下钻到处置页面进行处置。

在面对难以确定的风险时,系统支持派单进行人工进行处理,并给出相应的处置建议。

剧本式自动化编排

针对运维人员工作负担重,事件处置流程繁琐,因时间、地点等客观原因导致工作效率难以提升的问题。聚铭下一代智慧安全运营中心的剧本式事件自动编排功能能够满足用户个性化的事件处置流程,做到一键审批,自动执行编排剧本。

自动编排的执行申请可以根据需要发送至微信、钉钉等会话中,由相关审批人做出处置决策。

事件处理结果也会通过微信、钉钉等会话通知到用户,让用户第一时间获知处置结果。

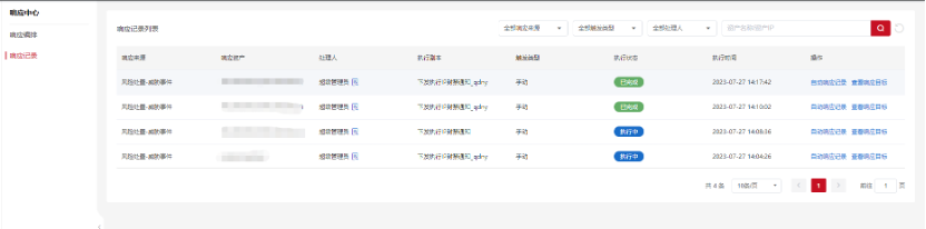
为了方便后续的事件总结和查找,每个设备资产以及相应处置记录都能够在系统中进行留存。


聚铭下一代智慧安全运营中心

“聚铭下一代智慧安全运营中心”是提升网络安全建设管理工作的智能化指挥作战中心。平台以“人机共生,智慧运营”为核心理念,依靠大数据挖掘、AI 算法、智能降噪等关键技术,构筑全流程自动化的安全动态防御体系。结合用户实际安全场景和业务需求提供专业报告和安全指导,动态优化安全工作流程、组织架构和配套制度,做到弱人工化、重智能化的安全运营,最终实现安全设备、安全数据、安全管理“效能最大化”的目标。

 
 

上一篇:会员走访-南京聚铭网络科技有限公司

下一篇:钟山职业技术学院携手聚铭网络共建安全运维体系